Cicero ave chicago il bedford park introduced during the kellogg switchboard supply companys 50th anniversary in 1947 the 1000 series redbar masterphonelike the one in our collectionis a bit of a postwar icon. Itt telecommunications material from 1957 to 1990.
Stromberg Carlson Glue In Wiring Diagram For Wood Wall
Kellogg telephone wiring diagram. Catalogs brochures bulletins wiring diagrams and other print material produced by the. 2 12 brass bells set of 2. Kellogg redbar telephone ringer sl 120bb 1000 masterphone. Pdf itt cinderella lr30 tl popular. The phone measures 24 inches tall and sold for 150 plus buyers premium by morphy auctions in june 2012. It might not have the rich oak exterior of an.
The oak cabinet has the original paper wiring diagram inside. The date of this. A wiring diagram is a simple visual representation of the physical connections and physical layout of your electrical system or circuit. Generally the information in the library is limited to equipment that was made prior to 1980. The goal of the organization is to educate the public as well as the members of the corporation regarding the history of telephony the value of old telephones and related items their collectability and preservation. Pdf itt cinderella 701lr30 tl popular published on 19 august 2010 by anonymous.
Kellogg switchboard and supply co telephone chicago section kellocc masterphones the heart and nerve is the most important innovation of the kellogg 1000 series masterphones the interconnecting block new patented is far ahead in creative telephonic engineering. Kellogg switchboard supply co 6650 s. Search for the phone model and wiring or schematic eg. Mini network with diagram. 3 brass bells for wooden wall phones and magnetos western electric. North 5h6 wiring this is a library of basic schematics wiring diagrams and other information that can be useful to anyone interested in restoring or repairing vintage telephone equipment.
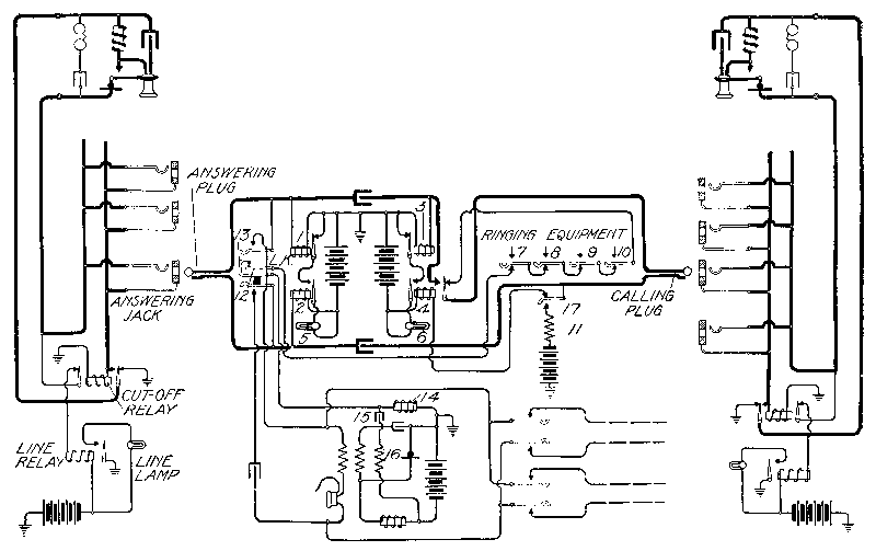
Kellogg redbar 1000 series masterphone c. Itt 2500 style telephones2500 telephone wiring diagram excerpt from document provided by dennis hock and scanned by kellogg mike neale. Kellogg catalog 92 march 10 1936 for magneto telephone systems produced in a pamphlet form and contained a listing of kelloggs magneto products for the period. Telephone collectors international was incorporated under the laws of the state of kansas on may 13 1986. Telephone wiring diagram excerpt from document provided by dennis hock and scanned by kellogg mike neale. Receiver for candlestick or wooden.
Kellogg switchboard and supply company chicago illinois usa. Kellogg switchboard and supply company resource page. This western electric picture frame front telephone dates to 1907. Kellogg material from 1897 to 1951 ittkellogg material from 1951 to 1957 and. To research telephone history and publish and provide literature. This scan version has omitted the outside plant power plant and tool portions as these were actually products produced by other companies and resold by kellogg supply.

:max_bytes(150000):strip_icc()/antique-phone-139406052-5c5b684846e0fb00017dcfc2.jpg)












