Home home wiring diagram house wiring diagram nz. If you a concerned contact a licensed electrician.
House Wiring Diagram Flickr Photo Sharing House Wiring
House wiring diagram nz. Ensure that you do not work in any enclosure where conductors or terminals are live or could become live. How to wire a plug. When buying a house or if you notice any of the above warning signs have a licensed electrician or electrical inspector check the internal wiring. Theres a right way and a wrong way to wire up swtiches and hot points in your home in nz but check the specs below for the right way. Wiring materials must comply with the relevant new zealand standards. Live neutral tails from the electricity meter to the cu.
Wiring your house in new zealand how to install light switches and hot points. They will be able to tell you if repairs are necessary and estimate the cost. Ensure that if you install extend or alter cables you do not connect your work to the electricity supply. In a typical new town house wiring system we have. Ring circuits from 32a mcbs in the cu supplying mains sockets. 2 such rings is typical for a 2 up 2 down larger houses have more.
A split load cu. It shows how the electrical wires are interconnected and can also show where fixtures and components may be connected to the system. It shows how the electrical wires are interconnected and can also show where fixtures and components may be connected to the system. Electrical wire colors for most typical home electrical wiringthe chart below includes uk electrical wire eu electrical wire australia electrical wire new zealand electrical wire south africa electrical wire canada electrical wire and united states electrical wire. When doing work on wiring in your home you must. Fully explained home electrical wiring diagrams with pictures including an actual set of house plans that i used to wire a new homechoose from the list below to navigate to various rooms of this home.
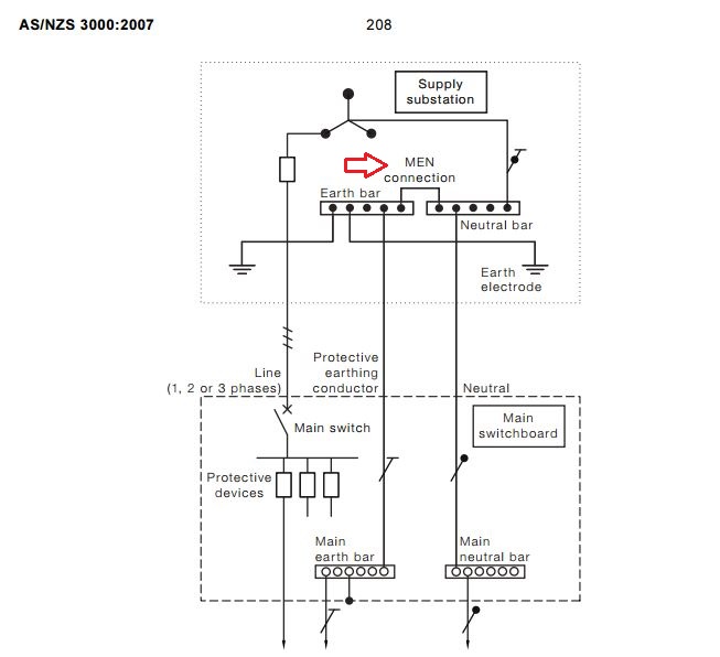
A wiring diagram is a simple visual representation of the physical connections and physical layout of an electrical system or circuit. Electricity gas high risk database user guide to the eghr database. Make sure that the power is switched off before you start. A wiring diagram is a simple visual representation of the physical connections and physical layout of an electrical system or circuit. Typical house wiring diagram illustrates each type of circuit. These signs may mean that the wiring in your home needs upgrading.
Home home wiring diagram house electrical wiring diagram new zealand. Doing your own wiring.















